Product Summary
The AT84AS004VTP is a 10-bit 1.5 Gsps analog-to-digital converter. It is designed for accurate digitization of broadband signals. It features 8.0 Effective Number of Bits (ENOB) and -60 dBFS Spurious Free Dynamic Range (SFDR) at 1.5 Gsps over the full first Nyquist zone. The AT84AS004VTP comes in a 25 × 35 mm EBGA317 package. This package has the same TCE as FR4 boards, offering excellent reliability when subjected to large thermal variations. The applications of the AT84AS004VTP include: Direct RF Down Conversion, Ultra Wide Band Satellite Receivers, Radars and Countermeasures, High-speed Acquisition Systems, High Energy Physics, Automatic Test Equipment.
Parametrics
AT84AS004VTP specifications: (1)Package: 317EBGA; (2)Resolution: 10 Bit; (3)Sampling Rate: 2 Gsps; (4)Number of Analog Inputs: 1; (5)Digital Interface Type: LVDS; (6)Input Type: Voltage; (7)Signal to Noise Ratio: 52(Typ) dBc.
Features
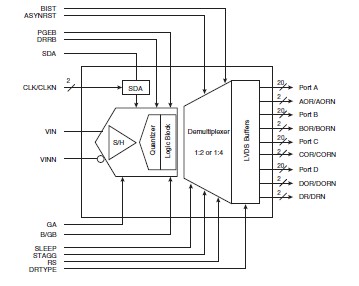
AT84AS004VTP features: (1)10-bit Resolution; (2)1.5 Gsps Sampling Rate; (3)Selectable 1:2 or 1:4 Demultiplexed Output; (4)500 mVpp Differential 100Ω or Single-ended 50Ω Analog Input; (5)100Ω Differential or Single-ended 50Ω Clock input; (6)LVDS Output Compatibility; (7)Power Consumption: 6.5W; (8)Power Supplies: -5V, -2.2V, 3.3V and VPLUSD Output Power Supply; (9)Package: Cavity Down EBGA 317 (Enhanced Ball Grid Array); 25 × 35 mm Overall Dimensions.
Diagrams

![]() |
![]() AT847 |
![]() Other |
![]() |
![]() Data Sheet |
![]() Negotiable |
|
||||
![]() |
![]() AT847HT |
![]() Other |
![]() |
![]() Data Sheet |
![]() Negotiable |
|
||||
![]() |
![]() AT847LT |
![]() Other |
![]() |
![]() Data Sheet |
![]() Negotiable |
|
||||
![]() |
![]() AT84AD001B |
![]() Other |
![]() |
![]() Data Sheet |
![]() Negotiable |
|
||||
![]() |
![]() AT84AD004 |
![]() Other |
![]() |
![]() Data Sheet |
![]() Negotiable |
|
||||
![]() |
![]() AT84AS003CTP |
![]() |
![]() BROADBAND DATA CONVERTR EGBA 317 |
![]() Data Sheet |
![]() Negotiable |
|
||||
(China (Mainland))








