Product Summary
The FF450R12ME3 is an IGBT-Module.
Parametrics
FF450R12ME3 maximum rated values: (1)collector-emitter voltage VCES: 1200 V; (2)IC,nom.: 450 A; (3)DC-collector current IC: 600 A; (4)repetitive peak collector current ICRM: 900 A; (5)total power dissipation Ptot: 2100 W; (6)gate-emitter peak voltage VGES: +/- 20 V.
Features
FF450R12ME3 characteristic values: (1)VCE sat: 1.70 to 2.15 V; (2)collector-emitter saturation voltage: 2.00 V; (3)gate threshold voltage: 5.0 to 6,5 V; (4)input capacitance Cies: 32 nF; (5)collector-emitter cut-off current ICES: 5 mA; (7)gate-emitter leakage current IGES: 400 nA.
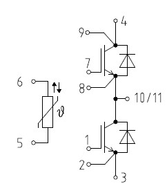
Diagrams

| Image | Part No | Mfg | Description | ![]() |
Pricing (USD) |
Quantity | ||||||||
|---|---|---|---|---|---|---|---|---|---|---|---|---|---|---|
![]() |
![]() FF450R12ME3 |
![]() Infineon Technologies |
![]() IGBT Modules N-CH 1.2KV 600A |
![]() Data Sheet |
![]()
|
|
||||||||
| Image | Part No | Mfg | Description | ![]() |
Pricing (USD) |
Quantity | ||||||||
![]() |
![]() FF450 |
![]() Cooper Bussmann |
![]() Fuses 450A 550V AC/400VDC |
![]() Data Sheet |
![]()
|
|
||||||||
![]() |
![]() FF450R06ME3 |
![]() Infineon Technologies |
![]() IGBT Modules N-CH 600V 550A |
![]() Data Sheet |
![]()
|
|
||||||||
![]() |
![]() FF450R12IE4 |
![]() Infineon Technologies |
![]() IGBT Modules N-CH 1.2KV 450A |
![]() Data Sheet |
![]()
|
|
||||||||
![]() |
![]() FF450R12KE4 |
![]() Infineon Technologies |
![]() IGBT Modules N-CH 1.2KV 520A |
![]() Data Sheet |
![]()
|
|
||||||||
![]() |
![]() FF450R12KT4 |
![]() Infineon Technologies |
![]() IGBT Modules N-CH 1.2KV 580A |
![]() Data Sheet |
![]()
|
|
||||||||
![]() |
![]() FF450R12ME3 |
![]() Infineon Technologies |
![]() IGBT Modules N-CH 1.2KV 600A |
![]() Data Sheet |
![]()
|
|
||||||||
(China (Mainland))










